Некоммерческое партнерство Альянс Печных Дел Мастера
 RSS  • FAQ  •  Поиск  •  Пользователи  •  Группы   •  Регистрация   •  Избранные темы   •  Профиль  •  Войти и проверить личные сообщения  •  Чат  •  Вход





 нужен взгляд опытных Следующая тема
Предыдущая тема
Начать новую темуОтветить на тему
Автор Сообщение
derwulf13



Зарегистрирован: Вс 27 Январь 2013, 17:17
Сообщения: 4
Регион: Минск

СообщениеДобавлено: Ср 20 Март 2013, 10:41 Ответить с цитатойВернуться к началу

Доброго всем дня.
Хочу услышать мнение специалистов.
Задача следующая, есть помещение , примерно 40м2 нужно его обогреть в межсезонье.
Полистав и почитав форум наткнулся на

http://forum.stovemaster.ru/viewtopic.php?t=5873&postdays=0&postorder=asc&&start=0

и было решено сделать нечто похожее, ширина 4 кирпича устраивает,
длину взял больше 4,5 вместо 3х.
дверца ДТ-2C (размер под закладку 370х300 )

Image

Прежде чем делать порядовку , рушил разобраться с каналами.
Топить предполагается дровами, высота трубы около 6м.

Просьба сильно не ругаться Smile

Спасибо



каналы.jpg
 Описание:
 Размер файла:  60.19 КБ
 Просмотров:  692 раз(а)

каналы.jpg


Посмотреть профильОтправить личное сообщениеПозвонить авторуICQ Number
denc



Зарегистрирован: Ср 20 Март 2013, 17:11
Сообщения: 4
Регион: Ростов

СообщениеДобавлено: Ср 20 Март 2013, 17:16 Ответить с цитатойВернуться к началу

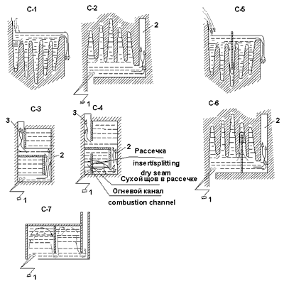
посмотрите на эту картинку, конкретно на эскиз С-3...по моему одна лишняя перегородка...
описание найти можно здесь
http://www.stove.ru/index.php?lng=0&rs=16



1.gif
 Описание:
 Размер файла:  15.36 КБ
 Просмотров:  708 раз(а)

1.gif


Посмотреть профильОтправить личное сообщение
derwulf13



Зарегистрирован: Вс 27 Январь 2013, 17:17
Сообщения: 4
Регион: Минск

СообщениеДобавлено: Ср 20 Март 2013, 20:00 Ответить с цитатойВернуться к началу

Дело в том, что в Вашем примере рассматриваются системы “свободного движения газов”. С 6 метровой трубой их еще придется заслонкой душить чтобы все в трубу не вылетало. Из прочитанного понял, что зуб 1 можно опустить чуть ниже опустить, чтобы уходили более холодные газы.
Перегородка 2, ни что иное как попытка увеличить теплоотдачу, за счет количества кирпича (канал то все равно считается за один). добавь такие в С-3 и С-4 , все равно бы движения газа было бы, а вот теплоемкость была-бы больше. как мне кажется.

поправьте если не прав.



каналы.jpg
 Описание:
 Размер файла:  59.03 КБ
 Просмотров:  644 раз(а)

каналы.jpg


Посмотреть профильОтправить личное сообщениеПозвонить авторуICQ Number
denc



Зарегистрирован: Ср 20 Март 2013, 17:11
Сообщения: 4
Регион: Ростов

СообщениеДобавлено: Ср 20 Март 2013, 20:04 Ответить с цитатойВернуться к началу

меня смутила перегородка №3...
Посмотреть профильОтправить личное сообщение
derwulf13



Зарегистрирован: Вс 27 Январь 2013, 17:17
Сообщения: 4
Регион: Минск

СообщениеДобавлено: Ср 20 Март 2013, 20:23 Ответить с цитатойВернуться к началу

собственно говоря чем ?

Image

имеем в , развернутый на 180 градусов...
Посмотреть профильОтправить личное сообщениеПозвонить авторуICQ Number
denc



Зарегистрирован: Ср 20 Март 2013, 17:11
Сообщения: 4
Регион: Ростов

СообщениеДобавлено: Ср 20 Март 2013, 20:29 Ответить с цитатойВернуться к началу

вы просили мнение специалиста, я предупреждаю сразу - я не специалист, только учусь Confused

но всё же бросаются в глаза различия вашей конструкции и рис В. обратите внимание, что здесь выход газов идёт сразу вверх... у вас-же появляется колено...

можно ссылочку откуда ваш эскиз?
Посмотреть профильОтправить личное сообщение
Андрей_Алексеевич



Зарегистрирован: Пн 13 Декабрь 2010, 19:17
Сообщения: 5969
Регион: малая родина Павлова, Скобелева, Циолковского, Уткиных и др.

СообщениеДобавлено: Ср 20 Март 2013, 21:15 Ответить с цитатойВернуться к началу

Confused

_________________
Печник - милостью и промыслом Божиим.
Печное отопление частного дома и т.п., авторское сопровождение проектов, наставничество в т.ч. дистанционное, партнёрство в кладке печей.
89106130763 МТС
andrejka61@mail.ru
andrej.kuzmischev@yandex.ru


ПТО 2х4,5.JPG
 Описание:
 Размер файла:  127.99 КБ
 Просмотров:  725 раз(а)

ПТО 2х4,5.JPG


Посмотреть профильОтправить личное сообщениеПозвонить автору
derwulf13



Зарегистрирован: Вс 27 Январь 2013, 17:17
Сообщения: 4
Регион: Минск

СообщениеДобавлено: Ср 20 Март 2013, 21:31 Ответить с цитатойВернуться к началу

Эскиз рисовал сам исходя из размера и имеющегося опыта. Confused

Уважаемый, Андрей_Алексеевич, а порядовка данной модели есть ?

Кстати да, одну заслонку можно опустить, как у Вас показано, а потом закрывать.
А не получится так, что убрав перегородку между зубом 3 и 4 сразу будет в трубу вытягивать ?
Посмотреть профильОтправить личное сообщениеПозвонить авторуICQ Number
Показать сообщения:      
Начать новую темуОтветить на тему


 Перейти:   



Следующая тема
Предыдущая тема
Вы не можете начинать темы
Вы не можете отвечать на сообщения
Вы не можете редактировать свои сообщения
Вы не можете удалять свои сообщения
Вы не можете голосовать в опросах
Вы не можете добавлять приложения в этом форуме
Вы можете скачивать файлы в этом форуме




Проект форум печников "Альянс. Печных Дел Мастера" © 2006-2026